
iPhone12の発売について、様々なリークが出てきて、それに伴ってYoutubeの『Appleガジェット解説委員』の方々がいろんな予測を立てて、右往左往する様子が実に面白いですね(なぜ上から目線)。
そんな中、あるYoutuberが、昨今のコロナの影響でマスクを装着している中、Face IDでは不便だからTouch IDが便利、だけども、今後出るiPhoneでは全画面表示だからTouch IDは搭載されないという話をしていました。確かに私もFace IDが付いているiPhone Xを使っていますが、マスクをしたまま使うときにストレス感じますねえ。
そのYoutuberは、続けてこんなことを言っていました。
「どうやら画面上で指紋認証できる特許があるらしい」から、近々発表されるiPhoneに搭載されるかも、と。
イチャモンではないのですが、そんな情報を発信するにあたり、なんでコヤツは一次情報に当たろうとしないねん、情報のソースはどこですかー、と思ったので今回の記事を書いてみようと思った次第。
結論から言うと、まだ特許にはなっていません。審査中です。出願公開公報は米国特許庁(USPTO)から発行されています。審査中だということも含めて、誰でも見ることができます。
そんな、一部の業界(?)では注目されている技術に関する特許出願の内容を、ざっくり解説してみましょう。

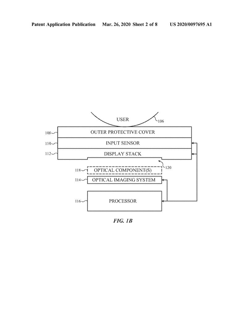
公開番号:US2020/0097695
公開日:2020年3月26日
出願日:2018年9月26日
発明の名称:Shortwave Infrared Optical Imaging through an Electronic Device Display
短波長赤外ってあまり聞き慣れないかもしれないですね。1~1.7μmの範囲の波長のことを短波長赤外(SWIR:Shortwave Infrared)と言うのですが、最近のニュースではSONYがSWIRを使った新しいイメージセンサーを発表するなどしていました。
今回紹介するAppleの特許出願では、スマホのモニターに搭載するわけですが、モニターからは当然ながら可視光の光が出ているわけですから、普通のカメラセンサーのように可視光を撮影することはできませんね。
そこで可視光ではない、短波長赤外領域を撮影するというわけなのですが、実は短波長赤外センサーなどのいわゆる「近赤外」で指紋を撮影するというのは、従来から行われていることなんですね。そう、静脈パターンを撮影して個人認証をする技術です。
参考文献:指静脈パターンを用いた個人認証技術
このような高度な個人認証技術を、スマホに落とし込もうというのが今回の特許出願といえます。
ちょっと難解です。
英語が得意な人は、この特許的言い回しにチャレンジしてみると勉強になりますよ。
1. An electronic device comprising:
a protective outer cover defining an interface surface and configured to receive a touch input from a finger;
a display positioned adjacent the protective outer cover; and
an optical imaging system positioned at least partially adjacent the display and comprising:
a light emitting element configured to emit shortwave infrared light, through the display and toward the interface surface; and
a photosensitive element optically isolated from the light emitting element and configured to receive, through the display, a reflection of the shortwave infrared light from the interface surface; wherein
the received reflection is used to construct a portion of an image of the finger.
簡単に言えば、ディスプレイに隣接して配置された光学結像システムで、短波長赤外光を発し、ディスプレイを通ってインターフェース表面に向かうように構成された発光素子、そして、発光素子とは別に、ディスプレイを介して、短波長赤外の反射光(つまり指からの反射ね)を受光するように構成される感光体、を備える電子機器、というものです。
下位クレームを見てみると、感光体は、薄膜トランジスタ層上に配置されたフォトダイオードであること(請求項3)、発光素子は約1450nmの波長で光を放射すること(請求項4)、ディスプレイは有機発光ダイオードディスプレイであること(請求項7)、ディスプレイの画素間領域で光を放出すること(請求項9)、発光素子は、ディスプレイの少なくとも1つの画素と同一平面にあること(請求項10)、という特徴が記載されています。
イメージ湧きましたかね?

本件は、まだ特許審査中で、特許権になっていません。短波長赤外で指紋認証するという技術は上述のとおり、すでに周知の技術となっていますから、この点で特許権を取得することはできないでしょう。この発光素子をディスプレイと組み合わせたことに特許権が付与されるかもしれませんが、どのような審査結果となるか、見ていきたいと思います。
ところで、特許権の取得有無と実際の製品への実装とは、あまりリンクしないケースが多いです。特許権の取得を待たず、特許出願後すぐに製品化というパターンは多くの企業で見られますが、今回の技術の場合、多くのユーザーが実装を望んでいる技術だと思いますが、他社も同じような技術を開発しているはずで、しっかり特許を押さえておいてから製品化をするべき技術だと個人的には思います。
注目の技術だけに、拙速に実装すると大きな特許紛争になることが大いに考えられます。
したがって、まだまだ実装には至らないのではないかなー、と考えています。
では、今日はこのへんで。










