
7月になったので、先月に公開公報が発行されたApple.Incの特許出願から、個人的に気になったものを紹介してみます。
今回紹介するのは以下の特許出願です。
特許公開番号:US2020/0201399A1
出願日:2019年8月8日
発明の名称:RETRACTABLE KEYBOARDS
公開日:2020年6月25日
まず、請求項1をみてみましょうか。正直、これだけだとサッパリだと思いますが。
1. A keyboard, comprising: a base layer; a keycap; a stabilizer coupled to the keycap and coupled to the base layer, the stabilizer being movable between a raised configuration and a lowered configuration, wherein the keycap is spaced farther away from the base layer when in the raised configuration relative to the lowered configuration; a magnetic structure movable between a first position relative to the base layer and a second position relative to the base layer, wherein the magnetic structure draws the stabilizer from the raised configuration to the lowered configuration upon movement of the magnetic structure from the first position to the second position.
Appleでは、Macbook Airのような、薄さを追求した製品を出すにあたり、2015年モデルから2019年のMacBook / Pro / Airにおいて、キーボードの高さを抑えたバタフライキーボードを採用して大コケしたことは記憶に新しいところであります。今般2020年に刷新されたモデルでは従来のシザーキーボードが復活したわけですが、それはつまり「薄くしたい」という技術的要求に目をつぶったということになるわけです。
Appleとしては、キーボードの設計において、押下するストロークを有することに起因する、可聴および触覚フィードバックがあることが、ユーザーの求めるものだ、と認識したようです(段落[0004])。このため、キーボードやほかのボタン等のユーザーインターフェースは、押圧時に所定の大きさ(高さ)と撓み量が必要なのだとしています(段落[0005])。
つまり、キートップの高さをある程度高くしないと、打鍵感は損なわれるし音も良くない。でもそうすると、画面を閉じたときに、キートップの高さのぶんだけ薄くならないということですよね。
ただ、よくよく考えてみれば、薄さが求められているのは、「使ってないとき」「画面を閉じているとき」です。Macbook Airの筐体の薄さを伝える記事やらblogやらはいくらでもあるわけですが、どれを見ても、画面を閉じた場合のサイズを議論しているわけです。
じゃあ、閉じたときに薄くなるキーボードにすればいいんじゃね?
という考えで生まれたのがこの発明です(たぶん)。
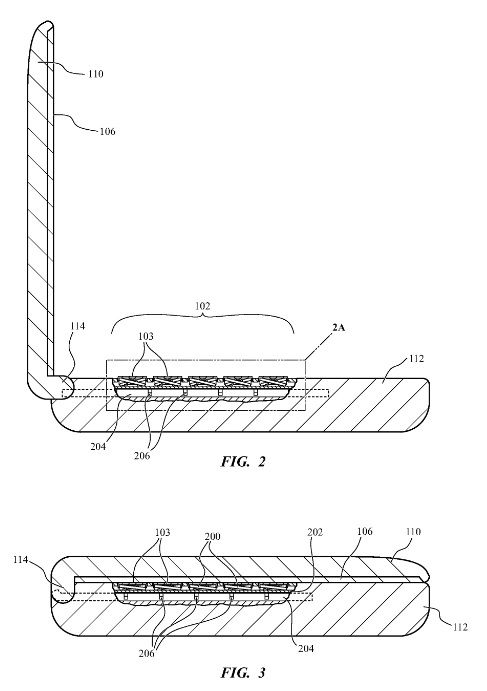
つまり、画面を閉じると同時にキーボードのすべてのキートップが「下がった状態」になるってことです。なるほどこれなら従来の高さのあるキーボードでも薄さを実現できそうです。

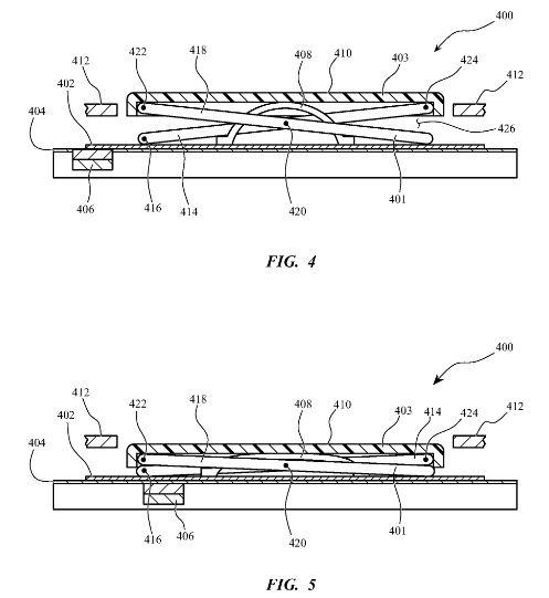
公報の明細書には、具体的にどのようにしてキートップを下げるか、いくつかの例が記載されていますが、そのうち一つの機構を紹介すると、キートップ下に磁石が仕込まれていて、画面を閉じることとキートップを引き寄せる磁石が動くこととが連動するという機構です。

個人的には、この機構ですべてのキートップを押下状態に引き込むことは難しいのでは?と思いますが、まあ、どのような機構を使うにせよ、キーボードが自動的に押し下がるというアイディアがいいじゃないですか。
この発明が採用されれば、確かに薄さを実現するのに役立ちそうです。2020年末までにMacbookのモデルが刷新されるようですが、こうした発明が採用されるかどうか、ワクワクしますね。
では、今日はこのへんで。










